Saturday March 2026

হটলাইন

কনটেন্টটি শেষ হাল-নাগাদ করা হয়েছে: বুধবার, ৯ অক্টোবর, ২০১৯ এ ১২:০২ PM

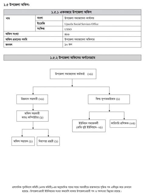
সাংগঠনিক কাঠামো

কন্টেন্ট: পাতা

সাংগঠনিক কাঠামো

এক্সেসিবিলিটি

স্ক্রিন রিডার ডাউনলোড করুন